
MIL-PRF-1/480E
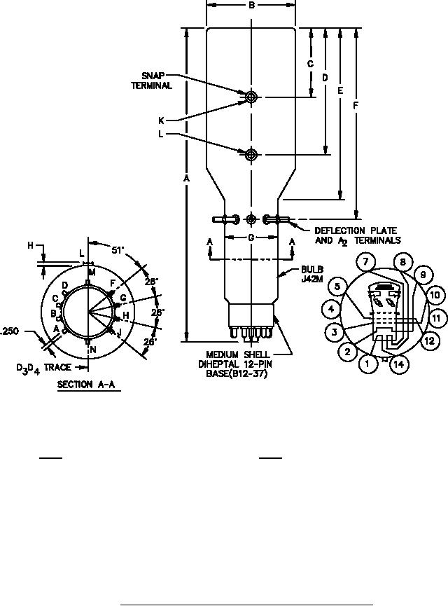
Connections
Terminal K Intensifier Electrode
Terminal L Accelerating Electrode Coating
Unit A
Unit B
Pin No.
1.
Heater
Pin No.
7.
Heater
2.
Cathode
8.
Heater
3.
Control Electrode
9.
Cathode
4.
Internal connection
10.
Control Electrode
5.
Focusing Electrode
11.
No connection
14.
Heater
12.
Focusing Electrode
Terminal A
Deflection Plate D2
F
Deflection Plate D1
B
Deflection Plate D1
G
Deflection Plate D2
C
Deflection Plate D3
H
Deflection Plate D4
D
Deflection Plate D4
J
Deflection Plate D3
M
Accelerating Electrode
N
Accelerating Electrode
FIGURE 1. Outline drawing of electron tube types 5SP1A, 5SP7A, and 5SP11A.
6