
MIL-PRF-1/338J
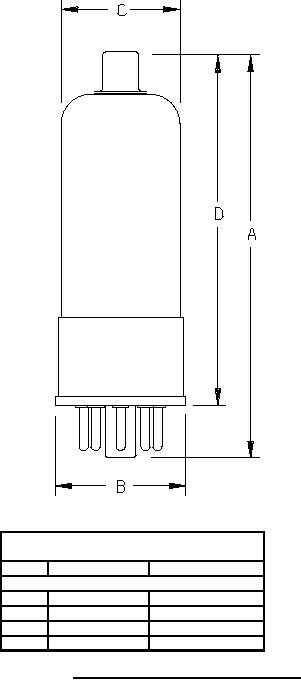
Dimensions in inches with metric
equivalents (mm) in parentheses.
Ltr
Minimum
Maximum
Conformance inspection, part 1
A
3.344 (84.94)
3.656 (92.86)
B
1.312 (33.32)
C
1.062 (26.97)
1.188 (30.18)
D
2.781 (70.64)
3.094 (78.59)
FIGURE 1. Outline drawing of electron tube type 2E26.
4
For Parts Inquires call Parts Hangar, Inc (727) 493-0744
© Copyright 2015 Integrated Publishing, Inc.
A Service Disabled Veteran Owned Small Business