
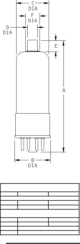
MIL-PRF-1/334C
Dimensions in inches with metric
equivalents (mm) in parentheses.
Ltr
Minimum
Maximum
Conformance inspection, part 2
A
3.500 (88.90)
3.875 (98.43)
B
1.312 (33.32)
Conformance inspection, part 3
(periodic-check)
C
1.062 (26.97)
1.188 (30.18)
D
0.355 (9.02)
0.365 (9.27)
E
0.406 (10.31) Nominal
F
0.420 (10.67) Nominal
FIGURE 1. Outline drawing of electron tube type 2C53.
3