emilspec
An Integrated Publishing, Inc. Site
eMilSpec
An Integrated Publishing Website
MIL-PRF-1-1767 Electron Tube, Power Type 8281
Pages
1
-
2
-
3
-
4
-
5
-
6
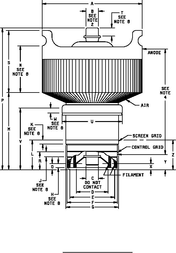
MIL-PRF-1/1767D
FIGURE 1. Outline drawing
of electron tube type 8281.
4
For Parts Inquires call
Parts Hangar, Inc
(727) 493-0744
© Copyright 2015 Integrated Publishing, Inc.
A Service Disabled Veteran Owned Small Business