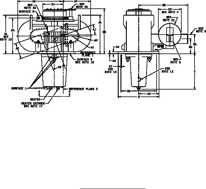
MIL-PRF-1-1618 Electron Tube, Magnetron Type 7256