
MIL-PRF-1/1405E
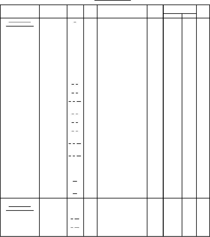
TABLE I. Testing and inspection.
Inspection
Method
Notes
Test
Conditions
Symbol
Limits
Unit
MIL-STD-1311
Min
Max
Conformance
5/
---
inspection, part 1
Heater current
---
1301
---
If
---
4.5
A
Cathode current
1256
---
2
Pi(rf) = 0
ik
0.75
1.75
a
ik
Cathode warmup time
4303
---
2
tk1 = 250 sec;
---
0.1
a
tk2 = 300 sec;
Pi(rf) = 0
Cathode voltage
1261
---
1
ek
-6.0
-7.0
kv
Cathode voltage
1261
---
2
ek
-6.5
-7.5
kv
' = 1.5 (max)
1/ 9/
1
Gss
33
43
dB
Small-signal gain (1)
4253
' = 1.5 (max)
1/ 9/
1
Gss
30
---
dB
Small-signal gain (2)
4253
' = 1.5 (max)
Gss
1/ 9/ 10/
1
---
3.0
dB
4253
Small-signal gain
variation
' = 1.5 (max)
1/ 9/
2
GIs
30
40
dB
Large-signal gain (1)
4253
' = 1.5 (max)
1/ 9/
2
GIs
27
---
dB
Large-signal gain (2)
4253
' = 1.5 (max)
GIs
1/ 9/
2
---
2.0
dB
4253
Large-signal gain
variation (1)
' = 1.5 (max)
GIs
4253
1/ 9/ 14/
3
---
2.5
dB
Large-signal gain
variation (2)
' = 1.5 (max)
po
8/ 9/ 12/
2
---
1.0
dB
Power output variation
4251
F = F1; ek (1) = 1.02 ek;
Pi(rf) (1) = 0.5 W;
Pi(rf) (2) = 1.5 W;
F = F3; ek(2) = 0.98 ek
13/
1
Pi(rf) = 0
spo
---
-10
dBm
4261
Spurious power
output (1)
4261
13/
2
Pi(rf) = 0
spo
---
-10
dBm
Spurious power
output (2)
Conformance
inspection, part 2
F
9/ 15/
1
Spectrum
F = F2
---
---
30
MHz
GIs
---
1.5
dB
9/ 11/
3
tk3 = 5 minutes;
Large-signal gain
4253
tk4 = 20 minutes
variation (3)
See footnotes at top of next page.
2
For Parts Inquires call Parts Hangar, Inc (727) 493-0744
© Copyright 2015 Integrated Publishing, Inc.
A Service Disabled Veteran Owned Small Business