
MIL-PRF-1/1341A
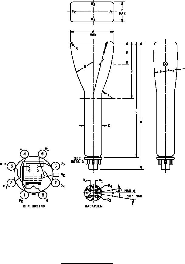
Note
1: The minimum useful screen area shall be a rectangle 2.75 inches by 1.125 inches centered on the geometric center of the
face and with the sides of the rectangle parallel to the axes of deflection.
2. The base be JEDEC B8-181.
FIGURE 1. Outline drawing of electron tube
5
For Parts Inquires call Parts Hangar, Inc (727) 493-0744
© Copyright 2015 Integrated Publishing, Inc.
A Service Disabled Veteran Owned Small Business