
MIL-PRF-1/1203K
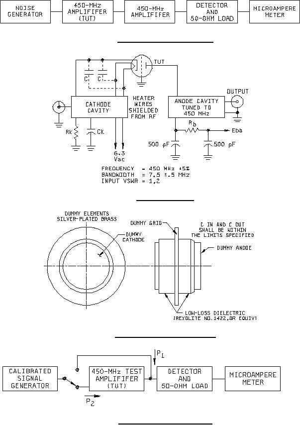
FIGURE 2. Equipment set up for noise figure test.
FIGURE 3. 450 MHz test amplifier.
FIGURE 4. Construction of 'dummy-tube" capacitor.
FIGURE 5. Equipment set up for power gain test.
8
For Parts Inquires call Parts Hangar, Inc (727) 493-0744
© Copyright 2015 Integrated Publishing, Inc.
A Service Disabled Veteran Owned Small Business